THz(太赫兹)成像是THz技术的重要应用方向之一,1995年,B.B.Hu和M.C.Nuss利用THz时域光谱系统实现了对新鲜树叶和集成电路的扫描成像,该工作被视为THz成像领域的里程碑,直观而清晰的透射扫描图像证明了THz波在成像领域的巨大潜力。特别是由红外量子级联激光器(Quantum cascade laser, QCL)发展而来的THz QCL在成像方面的潜力也引起了广泛的关注,这类器件具备输出功率高、单频性好和体积小易集成等特点,作为THz源被各种成像技术及系统所采用。
THz波介于毫米波和红外光之间,与毫米波或微波成像相比,THz波成像可以获得更高的分辨率,因为THz波具有更短的波长;与红外相比,THz波可以穿透很多红外无法透过的材料,如纸张,塑料,陶瓷和半导体等,完成对隐藏目标物体的成像;与在医学成像和安检成像等领域广泛应用的X射线相比,THz波具有更低的能量(1THz~4meV),可以弥补X射线容易对人体造成辐射损伤这一明显缺点,同时对低密度物质成像的对比度又要优于X射线,基于上述优点,THz成像应用领域主要涉及隐蔽目标探测、安检成像、无损检测和癌变生物组织识别。

太赫兹成像应用于安检
THz成像的发展趋势是研制更加实用化的THz成像探测设备,不断向着实时性、高分辨率、远距离和便携式等方向发展。采用的技术手段主要包括:优化扫描方式、合成孔径技术和阵列接收技术等。在新型THz成像技术方面,基于THz QCL的成像技术是未来THz成像领域一个重要的发展方向之一。
对于现有的太赫兹成像系统,由于在探测器与传输光路之间设置分束片,使得进入探测器的太赫兹光先经过分束片反射,由此极大降低了入射信号的强度,导致了信号具有较大的干扰,并且入射信号的收集效率也急剧下降。
【推荐发明专利】
《太赫兹二维成像系统及成像方法》
【发明内容】
本发明在于提供一种太赫兹二维成像系统及成像方法,用于解决现有的成像系统中进入探测器的入射信号强度低、干扰大、且收集效率低的问题。

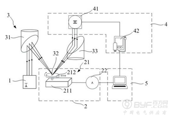
本发明所述成像系统的系统框图

太赫兹量子级联激光器模块的结构示意图及光路传输路径
本发明的太赫兹二维成像系统通过将第一镜体内置于太赫兹量子级联激光器的出光口,不仅实现了激光器模块直接发射平行的太赫兹光,还减小了成像系统的体积及复杂度;而且通过将传输至光路传输模块的太赫兹光设置为平行的太赫兹光束,大大减小了光的损耗。
此外,通过将第二镜体内置与探测器的前端,不仅实现了太赫兹光的会聚,还进一步减小了成像系统的体积及复杂度。
而且,通过太赫兹量子级联激光器模块、载物台模块、光路传输模块及数据采集模块重新设置了太赫兹光的传输路径,避免了分束片的使用,减小了光的损耗和光束干扰,提高了成像信噪比;最后,通过光路传输模块将入射至数据采集模块的太赫兹光设置为平行的太赫兹光束,增大了探测器的收集效率,提高了信号强度及成像效果。