内容说明
本实用新型涉及水表领域,特别是一种水表采集器。
发明背景
目前市场上的远传水表大都是将同一组楼层的多个水表的信息传送到水表采集器上,再经水表采集器传送到计算机管理系统上,完成远程抄表,但是水表采集器在使用的过程中,尤其是夏季,当水蒸气碰触到水表采集器后可能会凝结水滴,众所周知,电子设备遇水容易损坏,因此发明一种可以阻止水表采集器壳体上形成水滴的设备是一个急需解决的问题。
发明内容
针对上述情况,为克服现有技术之缺陷,本实用新型提供一种水表采集器,其可以有效的阻止水表采集器壳体上产生水滴。
本实用新型包括水表采集器本体、固定壳和驱动壳,所述固定壳包括背板和背板上下端同向垂直伸出的支撑板,所述支撑板内侧设有一端滑动固定在背板上的压板,所述压板和支撑板之间经多个弹性件连接,所述采集器本体置于两个压板之间,所述背板和支撑板上均设有多个散热孔,所述采集器本体背向背板的一侧转动设有面向采集器本体的抽风叶轮,所述抽风叶轮的背部同轴连接有蜗轮,所述蜗轮啮合有竖向的蜗杆,所述驱动壳的一端连通有水表接头,驱动壳另一端连通有管道接头,所述蜗杆同轴连接有驱动轴,所述驱动轴转动连接在驱动壳上且驱动轴的自由端伸入到驱动壳内,所述驱动轴的自由端连接有置于驱动壳内的水轮。

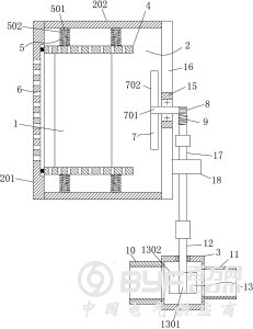
图为本实用新型主视示意图
本实用新型使用时,将采集器本体1连接在水表上,然后将本实用新型驱动壳3的一端的水表接头10接在水表的端头上,将驱动壳3的管道接头11接在水管道上,当水流过时,水流推动水轮13转动,水轮13带动驱动轴12经传动杆17使得蜗杆9转动,蜗杆9经蜗轮8带动抽风叶轮7转动,抽风叶轮7对着采集器本体1进行抽风,由于压板4和背板201上均有多个通风孔6,而固定壳2的前后没有侧板,使得风从采集器本体1的四周通过,不断的吹动采集器本体1,使得采集器本体1表面不会留存水分,达到了防止水表采集器本体1上产生水滴的效果,所述抽风叶轮7可以替换为吹风叶轮,吹风叶轮对着采集器本体1进行吹风,同样可以达到相同的效果。本实用新型不仅可以达到防止产生水滴的效果,且可以达到散热的效果。
本实用新型中的上下压板可以上下移动,方便了采集器本体1的固定,将采集器本体1放置在上下压板4上之后,由弹簧502的弹力使得采集器本体1定位在两个压板4之间,加有伸缩杆501,使得弹簧502没有横向位移只有竖向位移。其压板4的内侧面可以做成摩擦面,增大与采集器本体1之间的摩擦,使得采集器本体1的定位更加稳固。使用压板4可以适用于多种尺寸的采集器本体1。
本实用新型采用水流作为动力,不额外增加动力,达到了对着采集器本体进形抽风防止形成水滴的效果,且采集器本体在两个压板的作用下定位,拆装方便快捷。









