内容说明
本发明涉及电子仪表技术领域,特别是涉及一种能够抵消电路板交变磁场干扰的电子式电能表及其所包括的分流器、采样电阻片以及抵消电路板交变磁场干扰的方法。
发明背景
电子式电能表是一种电子仪表设备,它通过对用户供电电压和电流实时采样,记算用电量。我们的生活用电是交流电,变化的电场会产生磁场,电子式电能表由很多的元器件组成,在磁场的干扰下,会产生感应电流,带来计量误差。假如如在电路板上设置芯片,用该芯片来抵消与电路板上的感应电流,但此方法不仅大幅提高电能表的制造成本,且使得电能表结构复杂化,影响制造效率。
发明内容
基于上述问题,本发明提供了一种抵消电路板交变磁场干扰的电子式电能表及其分流器、采样电阻片及抵消电路板交变磁场干扰的方法。
为达成上述目的,本发明提供一种分流器,其应用于电子式电能表,电子式电能表包括电路板及第一、第二信号线,其特征在于:分流器包括:第一导电片、采样电阻片、第二导电片、第一采样端点及第二采样端点,采样电阻片连接于第一导电片和第二导电片之间,并与电路板间隔且非垂直的设置,采样电阻片设有通孔,第一采样端点和第二采样端点设于分流器的相对两侧,通孔在采样电阻片上偏心设置;其中,第一信号线的第一端连接于第一采样端点,第二信号线的第一端连接于第二采样端点并穿过通孔,第一信号线的第二端和第二信号线的第二端分别连接到电路板上;采样电阻片被第二信号线划分为第一感应面积和第二感应面积,且第一感应面积不等于第二感应面积,在交变磁场的作用下,第一感应面积中产生第一感应电流,第二感应面积中产生第二感应电流,第一感应电流与第二感应电流极性相反,且大小不相等,电路板上存在感应电流,第一感应电流与第二感应电流的差值与电路板上存在感应电流极性相反。

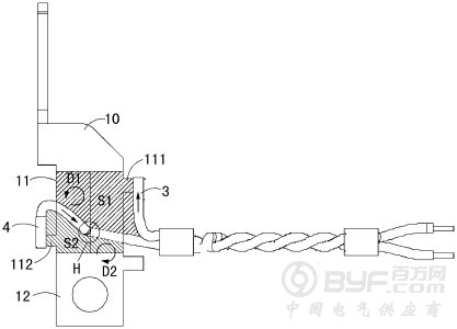
图为本发明的电子式电能表的俯视图,其中未示出电路板
同时,本发明还提供一种电子式电能表,其包括电路板、第一、第二信号线以及上述的分流器。
此外,本发明还提供一种用于抵消上述的电子式电能表的电路板受到的磁场干扰的方法,其包括以下步骤:测量电路板上存在的感应电流的极性和大小;在采样电阻片上开设偏心设置的通孔;将第二信号线的第一端连接于第二采样端点并穿过通孔,第一信号线的第二端和第二信号线的第二端分别连接到电路板上,电路板与采样电阻片间隔且非垂直的设置;第二信号线将采样电阻片划分为第一感应面积和第二感应面积,且第一感应面积不等于第二感应面积,第一感应面积中产生第一感应电流,第二感应面积中产生第二感应电流,第一感应电流与第二感应电流极性相反,且大小不相等,第一感应电流与第二感应电流的差值与电路板上存在感应电流的极性相反,从而至少部分抵消电路板上存在的感应电流,电路板受到的磁场干扰相应减小。
本发明相较于现有技术的有益效果在于:本发明中,通过将通孔设置为相对于采样电阻片的对称中心不同程度的偏移,来调节采样电阻片受磁场干扰生成的感应电流的方向,通过调整通孔相对于电阻片对称中心的距离,来调节采样电阻片受磁场干扰生成的感应电流的大小,从而通过感应电流差值抵消电路板中的感应电流。因此,本发明的采样电阻片不仅能消除自身的磁场干扰,更能减小或消除电路板所受的磁场干扰,且本发明的分流器能配合现有的电路板、信号线等电子式电能表的其他元件使用,因此与现有的必须在电路板中增设芯片的方案相比,本发明不仅能够消除电路板的磁场干扰,更不会造成成本大幅提升,以及影响电能表的组装效率。








