内容说明
本发明涉及磁传感器技术领域,特别涉及一种用于识别磁性介质例如磁性保密纸,纸币,支票和磁卡等磁性的传感器。
发明背景
在日常生活中,磁性介质的使用非常广泛,应用于各类防伪及加密,例如各种磁性保密纸、纸币、支票、磁卡等。现有的磁性传感器读取磁性介质信号的方式是通过施加恒定的励磁场测量磁性介质的漏磁场来识别其磁信号的真伪,这样的测量方式相对来说精度较低,不法分子容易有机可趁,造假的门槛相对较低,技术手段相对成熟。
而磁性介质条的不同区域的磁性能不同,制假分子想要制造出与原始磁性介质材料相同的磁性能及分布,其成本及技术相对要很高。通过本发明方案的传感器可以测量磁性介质的磁性能及分布,从而可以更加精准的区分,检测磁性介质,提高防伪及加密等级。这需要传感器更加精确识别磁性介质。
发明内容
本发明目的在于提供可以更加精确识别磁性介质的传感器。本发明为实现上述目的,采用如下技术方案:一种用于识别磁性介质的传感器,其特征在于:其包括一个或两个磁场感应方向相同的传感单元和提供不同励磁场方向的励磁;所述传感单元用于检测被所述励磁磁化的磁性介质的漏磁场沿其磁场感应方向的分量。
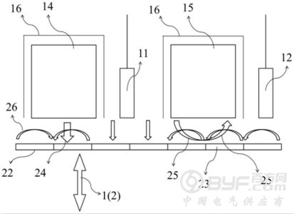
一种实施方式为所述励磁为电磁铁,提供交变电磁场;一个传感单元设置在所述电磁铁中心开口处。另一种实施方式:所述传感器包括两个励磁场方向相互垂直的的励磁和两个传感单元,所述两个传感单元分别位于两个励磁的一侧。第三种实施方式:所述传感器包括电磁铁、两个传感单元以及两个励磁;所述两个励磁提供的励磁场的方向相互垂直,所述电磁铁用以提供交变励磁场,两个传感单元分别位于每个励磁的一侧,一个传感单元位于电磁铁中心开口处。

图为本发明提供的用于识别磁性介质传感器的第二种实施例的示意图
其进一步特征在于,所述传感单元包括一个或多个磁性传感元件,并且所述多个磁性传感元件的磁场感应方向相互平行。
优选的,所述传感单元的磁性传感元件为包括线圈磁头、霍尔元件、各向异性磁电阻元件、巨磁电阻元件或磁隧道结元件的磁性传感元件。传感单元中的磁性传感元件为单电阻、半桥或全桥结构。第二、三种实施方式中:所述励磁为永磁体或电磁铁,其有效励磁场宽度大于或等于磁场传感单元的感应宽度。上述励磁外有一层屏蔽层,所述屏蔽层的一端开口,开口面为检测面,所述屏蔽层的材料为软磁材料。
本发明可以精确测量磁性介质的磁性能及分布,比通用类磁头传感器具有更高的精度,从而可以提高防伪加密等级。








