内容说明
本发明涉及一种作为流体的流量控制阀使用的滑阀型流量控制阀,另外,涉及一种流量控制阀用的滑阀位置检测装置。
发明背景
在例如建设机械/车辆或其他机械/车辆等领域中,作为作业设备的驱动致动器,使用流体压力缸等流体压力设备。在流体压力设备的驱动时,向所需的流体压力端口,经由流量控制阀供给对方向及流量进行控制后的压力流体。作为流量控制阀,使用各种先导阀。流量控制阀作为伺服阀而构成,利用位置检测器检测该流量控制阀的滑阀的位置,向驱动该滑阀的致动器反馈滑阀位置检测数据。
在位置检测器中,公知电阻式、电磁式或者光学式等各种类型的位置检测器。使用电位计的电阻式位置检测器,由于存在机械接触式的触点,所以在耐久性方面存在困难。另一方面,光学式传感器可以以非接触式进行检测,但在周边环境容易脏的环境的情况下,存在维护麻烦的难点。使用被交流励磁的线圈的电磁式传感器存在下述优点,即,可以以非接触式进行检测,并且即使在周边环境容易脏的环境中也具有耐久性。但是,存在如何补偿由温度特性引起的线圈阻抗的变化,从而可以进行精度高的位置检测的课题。另外,无论哪种类型的传感器,均期望提供结构简单且制造成本便宜的位置检测器。
另外,在流量控制阀中,与使用目的对应而存在多种尺寸。在现有的滑阀位置检测装置中,如果作为检测对象的滑阀的最大位移量不同,则必须使用具有与其对应的可检测范围的位置传感器。因此,当前,必须针对多种尺寸的流量控制阀的各种类,准备不同的位置检测装置。
发明内容
本发明就是鉴于上述问题点而提出的,其提供一种流量控制阀,具有电磁式位置检测器,该位置检测器结构简单,耐久性优良,能适应苛刻的使用环境,具有优越的温度特性补偿性能,且制造成本便宜。另外,提供一种具有相同优点的流量控制阀用的滑阀位置检测装置。同时提供一种即使针对不同尺寸的流量控制阀,也可以共用的滑阀位置检测装置。
本发明所涉及的流量控制阀,其在具有多个端口的套筒内,可滑动地收容具有多个阀体的滑阀,通过利用致动器使该滑阀直线地移动,进行流量控制。其特征在于具有:大致直线状的目标探针,其安装在所述滑阀的一端,由磁响应性的材质构成;开口,其设置在所述套筒的一端,以容许所述目标探针通过;传感器壳体,其安装在所述套筒的所述一端,用于检测所述目标探针的直线位置。

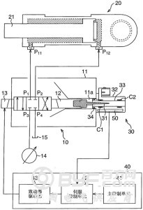
图为表示使用本发明的一个实施例所涉及的滑阀型流量控制阀,对流体压力缸
进行驱动控制的系统的一个例子的图
其中,所述传感器壳体具有筒部,该筒部形成有容许所述目标探针进入的内部空间,所述内部空间与所述套筒的所述一端的所述开口连结,所述筒部由非磁性体构成;以及第1线圈以及第2线圈,其在所述传感器壳体内的所述筒部的周围,沿轴向隔着规定间隔而配置,所述第1线圈配置为与所述目标探针进行感应,所述目标探针具有体积逐渐减小的锥形形状的前端部分,使相对于该第1线圈的磁响应性与该目标探针的直线位置对应而向一个方向逐渐变化,并且所述第2线圈构成为,至少在所述目标探针的规定的直线位移范围内不与该目标探针的直线位移进行感应,通过将所述第1及第2线圈的输出进行差动合成,从而检测所述目标探针的直线位置即所述滑阀的位置。
并且,相对于所述目标探针,所述第1线圈位于近端侧,第2线圈位于远端侧,在所述第2线圈的内侧,环状地设置磁响应性屏蔽部件,所述目标探针构成为具有使其前端进入远端侧的所述第2线圈的感应区域的长度,在其前端进入远端侧的所述第2线圈的感应区域时,利用所述磁响应性屏蔽部件使所述第2线圈不与所述目标探针进行感应。
根据一个实施例,其特征还有:对将所述第1及第2线圈的输出进行差动合成而得到的交流检测信号进行整流,并生成直流检测电压信号的电路;以及增益设定电路,其将所述直流检测电压信号放大,在增益设定电路中,作为增益设定用的电阻元件,使用具有规定温度特性的电阻元件,设定所述增益设定用的电阻元件的所述规定温度特性,以抵消由涡流损耗以及电路内要素的温度特性引起的阻抗变化。由此,可以对涡流损耗以及电路内要素的温度特性进行补偿。
根据优选的一个实施例,其特征在于,针对所述滑阀的最大位移量不同的多种流量控制阀,通过使设置在所述套筒的一端的开口的尺寸、和相对于所述套筒的一端的所述传感器壳体的安装构造通用化,并且使所述传感器壳体内的所述筒部所形成的所述内部空间的长度成为可以与所述多种流量控制阀中最长的所述滑阀的最大位移量对应的尺寸,由此,虽然针对所述多种流量控制阀使用不同尺寸的所述目标探针,但包含所述第1线圈以及第2线圈在内的相同的所述传感器壳体,可以共通地应用于所述多种流量控制阀中。由此,由于可以将包含第1线圈以及第2线圈在内的相同的传感器壳体共通地应用于多种流量控制阀,所以可以不针对多种尺寸的流量控制阀的各类型准备不同的位置检测装置,通过通用化而减少制造成本。








