内容说明
本发明涉及用于测量流量的装置和方法。更具体地说,本发明涉及用于测量流量的装置和方法,其中被测量的流的干扰降低。
发明背景
传统的管路内流量计本质上是机械的,需要读取在安装的管路内流量计的位置处的指示器。
传统的流量计的一般操作提供流动的流体以便在流动的流体管或管道中安装的机械装置壳体的一端进入。流动的流体迫使活塞克服弹簧在流量计设备内移动。受到流动的流体产生的压力,弹簧被压缩。活塞还容纳流动流体,允许它在活塞周边周围通过,并继续通过管路内流量计的出口。
活塞的一部分通过壳体的透明部分可见。在印在透明部分上的刻度下观察活塞的位置。相对于刻度的活塞的位置给出流体的流速。因此,传统的机械式流量计依赖由弹簧加载的活塞进行的间接压力测量。
发明内容
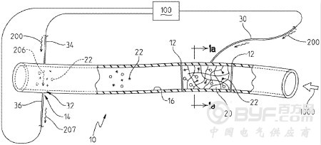
本公开提供一种流量计,包括:具有腔的流容器;设置为与腔连通的介质,该介质保持着剂;发射位置,该发射位置靠近所述介质,并且包括至少一个能量接收器,该至少一个能量接收器被配置为接收能量并且使所述剂从所述介质释放;以及检测位置,该检测位置在所述发射位置的下游并与其分开,所述检测位置包括至少一个检测器,该至少一个检测器提供所述剂的存在的检测。
根据本发明的一个实施例,一种检测流容器中的流速的方法包括:提供介质,该介质具有粘合到其上的剂,所述介质和剂设置为与所述流容器的腔连通;使物质流动通过所述流容器;对所述流容器提供能量,使所述剂从所述介质脱离,使得所述剂与在所述流容器内流动的物质相互混合;以及在所述介质下游的已知点检测所述剂的存在。

图为本发明的集成流量计的局部剖开的透视
根据本发明的另一个实施例,提供一种流量计,包括:传感器;具有腔的流容器;设置成与所述腔连通的注入了剂的聚合物;发射位置,该发射位置靠近所述介质,并且包括至少一个能量接收器,该至少一个能量接收器被配置为在传感器的引导下接收能量并且使所述剂从所述聚合物释放;以及检测位置,该检测位置在所述发射位置的下游并与其分开第一距离,所述第一距离被提供给所述传感器,所述检测位置包括在所述腔中投射光的光源以及至少一个检测器,该至少一个检测器通过监测由所述至少一个检测器检测的投射光的量而检测所述剂的存在。
这种类型的流量计对流体流动几乎没有阻力,从而不影响新的管路内流量计的任一侧上的压力梯度。随着流体流过传统的流量计,流动流体的可能的干扰能够导致增加的湍流,从而在流体内产生增加的剪切能量,这可能使得对剪切应力敏感的流体特性退化。
本发明的管路内流量计在其操作中还是线性的,并同样好地在相对快和相对慢的流速下运行。机械的管路内流量计潜在地受非线性弹性动作响应的限制,从而可能对非常慢和非常快的流速不敏感。此外,机械性质可能磨损并随时间而改变,而新的管路内流量计在其操作中保持不变,只要存在剂22即可。与出口侧相比,机械流量计可能导致增加头压力,或入口侧的压力。这些压力差是累加的,使得当将入口压力与最终出口压力比较时,串联放置的多个机械流量计产生更大的压力差。在大的工厂中,这可能是过程控制中的一个主要因素。
此外,本发明没有电气构件与新的管路内流量计直接相关联。对于传统管路内流量计的远程感测来说,需要机电机构,增加复杂性、失败的可能性和远程感测的成本。通过亲自地或可能通过摄像机远程观察窗口,能够进行机械流量计的本地感测。
不使用机械机构和机电元件测量流速的优点允许测量爆炸性或挥发性流体的流速(飞机/汽车燃料控制和输送)。这允许相对于传统的流速测量更安全地进行燃料运输和搬运。应当认识到,剂22被选择成使得它的存在对流体的目的具有很小影响或没有影响(如燃料输送,剂22被选择成使得它不会对将在发动机中使用的燃料的能力有不利的影响以便不留下不希望的残渣)。
此外,本发明的管路内流量计不提供移动部件,从而减少故障点。流量计的操作还允许非常高和非常低的流速可以被检测到。传统的流量计经常要挑它们能够精确测量的高流速和低流速。







