- 英特尔牵手华为加速人工智能落地,推动数字化转型
0评论2018-10-16
- 达索系统CEO:智能制造不会带来大量工人失业
0评论2018-10-16
- 智能设备新功能前瞻:利用感知计算技术“听”环境
0评论2018-10-16
- 钴产品量价齐升 寒锐钴业前三季度净利润预增121%-135%
0评论2018-10-16
- 关于检测水质ORP中运用到的传感器
0评论2018-10-16
- 惠普:用3D打印机撬动12万亿美元制造市场
0评论2018-10-16
- 风电市场竞争加剧 华仪电气前三季度利润减少43%
0评论2018-10-16
- 2025年全球电池原材料市场规模将达685.7亿美元
0评论2018-10-16
- OLED面板供不应求价格持续上涨 产业链公司或将受益
0评论2018-10-16
- 安霸AI芯片,开启人工智能新篇章
0评论2018-10-16
- 当高校与金融科技巨头联姻
0评论2018-10-16
- 面对CPU芯片漏洞 英特尔CSO重塑安全管理
0评论2018-10-16
- 哈工大工信部携手发展机器人教育产业
0评论2018-10-16
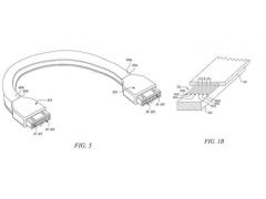
- 特斯拉为新型电缆申请专利 更易被机器人操作推动汽车生产自动化
0评论2018-10-16
- 人工智能与机器人产业融合发展委员会正式成立
0评论2018-10-16
- 国网湖南公司不良行为通报 ,任丘市精工电力器材制造有限公司上榜
0评论2018-10-15
- 国网湖南公司不良行为通报 ,兴乐集团有限公司上榜
0评论2018-10-15
- 国网湖南公司不良行为通报 ,河南佳能电力物资有限公司上榜
0评论2018-10-15
- EPOWER2019 “成长积淀,嬗变图强”!第19届中国全电展盛世起航!
0评论2018-10-15
- 仿生学是否会成为3D打印材料发展机遇?
0评论2018-10-15